Phát hiện dùng cảm biến quang
11/10/2016 4:10:13 CH
Bài tập ứng dụng - Phát hiện dùng cảm biến quang
Ứng dụng của PLC mitsubishi trong thực tế
Mô hình hoạt động:

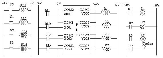
Bảng khai báo thiết bị
| Dạng | Địa chỉ thiết bị | Tên thiết bị | Sự hoạt động |
| Ngõ vào | X0 | Vào cổng (người) | ON khi phát hiện có người vào |
| X1 | Ra cổng (người) | ON khi phát hiện có người ra | |
| X2 | Vào cổng (xe) | ON khi phát hiện có xe vào | |
| X3 | Ra cổng (xe) | ON khi phát hiện có xe ra | |
Ngõ ra | Y0 | Đèn xanh Đ1 (người) | Bật sáng khi Y0 - ON |
| Y2 | Đèn xanh Đ2 (xe) | Bật sáng khi Y2 – ON | |
| Y3 | Đèn đỏ Đ3 (xe) | Bật sáng khi Y3 – ON | |
| Y7 | Còi báo | Kêu lên khi Y7 ON |
Mục đích điều khiển:
Bật tia sáng lên khi phát hiện có người hay xe đi qua. Sử dụng các lệnh cơ bản và bộ định thì.
Những đặc tính điều khiển:
Phía người:
Khi cảm biến vào cổng X0 phát hiện có người vào thì đèn xanh Y0 bật lên.
Khi cảm biến ra cổng X1 phát hiện có người đi qua thì sau 5s đèn xanh Y1 tắt.
Phía xe:
Khi cảm biến vào cổng X2 phát hiện có xe vào thì đèn xanh Y2 được bật lên.
Khi cảm biến ra cổng X3 phát hiện có xe đi qua thì sau 5s đèn xanh Y2 tắt.
Nếu xe không băng qua vùng giữa cảm biến vào cổng X2 và ra cổng X3 trong 10s, đèn đỏ Y3 bật sáng và còi báo Y7 vang lên
Ngay khi xe băng qua cảm biến ra cổng X3 thì đèn đỏ Y3 tắt và còi báo Y7 ngừng.
Sơ đồ nguyên lý:

Chương trình Ladder mẫu:

Thông tin liên quan
- Ứng dụng PLC - Bố trí sân khấu
- Ứng dụng PLC Mitsubishi - Vận hành cửa tự động
- Ứng dụng điều khiển cung cấp sản phẩm
- Phân loại sản phẩm theo kích cỡ (II)
- Tín hiệu nút nhấn
- Ứng dụng PLC Mitsubishi - Điều khiển máy khoan
- Ứng dụng PLC Mitsubishi - Truyền động băng tải
- Ứng dụng PLC Mitsubishi - khởi động/ dừng băng tải
- Ứng dụng PLC Mitsubishi - phân loại kích cỡ
- Điều khiển định thì mạch đèn giao thông
Đăng Ký Email Nhận Tin Khuyến Mãi
© Copyright 2007.mitsubishi-automation.vn. Designed by Viễn Nam


